ПАТЕНТ НА ИЗОБРЕТЕНИЕ
06.01.2021
Просмотров: 2102
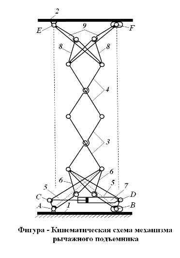
Поздравляем доцента кафедры механики Нутпуллу Камаловича Джамалова с полчением патента РК №34823 на изобретение «Рычажный подъемник»!

Изобретение относится к машиностроению, а именно подъемно-транспортному машиностроению, и может быть использовано для проведения строительных, ремонтно-монтажных, профилактических, грузоподъемных и др. видов работ.
Целью изобретения является упрощение конструкции, повышение устойчивости подъемника.







