Page 196 - Тактика зенитных подразделений войск ПВО СВ
P. 196

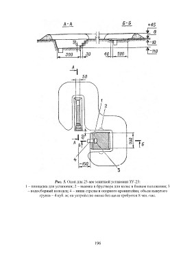
Рис. 5. Окоп для 23-мм зенитной установки ЗУ-23:
1 – площадка для установки; 2 – выемка в бруствере для колес в боевом положении; 3

 – водосборный колодец; 4 – ниша стрелы и опорного кронштейна; объем вынутого
          грунта – 4 куб. м; на устройство окопа без щели требуется 8 чел.-час.

                                                196
   191   192   193   194   195   196   197   198   199